产品订购热线:021-56051151 15821524164
设为首页收藏站点
 
网站首页 公司简介 新闻中心 产品中心 技术支持 企业荣誉 人才招聘 联系我们  
 
 
产品中心
不锈钢截止阀
波纹管截止阀
气动截止阀
螺纹截止阀
法兰截止阀
焊接截止阀
铸铁截止阀
铸铜截止阀
铸钢截止阀
角式截止阀
平衡截止阀
针形截止阀
氧气专用阀
真空截止阀/水封截止阀
耐磨耐腐蚀截止阀
高温高压截止阀
电动截止阀
节流阀
角座阀系列
其他阀门
过滤器
联系我们
 
联系地址:上海市奉贤区四团镇邵厂北区89号
邮寄地址:上海市普陀区真北路3199号星云经济区
电话:021-56051151
传真:021-66309799
手机号码:15821524164(汤小姐)
公司网址:http://www.gkfm.cn
E-mail:1542202575@qq.com
QQ:1542202575
阀门产品
J13W Ⅲ型内螺纹针型阀

质量稳定:实行全过程质量监控,细致入微,全方位检测!

价格合理:高效内部成本控制,减少了开支,让利于客户!

交货快捷:先进生产流水线,充足的备货,缩短了交货期!

销售:021-56051151
传真:021-66309799
QQ : 1542202575
邮箱:1542202575@qq.com
J13W Ⅲ型内螺纹针型阀适用范围

 J13W Ⅲ型内螺纹针型阀应用于城建、化工、冶金、石油、制药、食品、饮料、环保等

J13W Ⅲ型内螺纹针型阀主要性能规范
型号 公称压力(Mpa) 试验压力PS(Mpa) 工作压力(Mpa) 工作温度(℃) 适用介质
壳体 密封(液) 密封(气)
J13W-16Ⅲ
1.6 2.4 1.76 0.6 1.6 P≤540℃ 液化石油气
水、酸、蒸汽、
油品等
J13W-40Ⅲ 4.0 6.0 4.4 0.6 4.0
J13W-160Ⅲ 16.0 24.0 17.6 0.6 16.0 C≤425℃
J13W-320Ⅲ 32.0 48.0 35.2 0.6 32.0

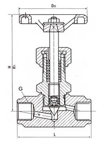
J13W Ⅲ型内螺纹针型阀主要外型及连接尺寸
DN
管螺纹G 尺 寸 重量
Do L H H1 d
6 14 60 58 90 100 4 0.65
10 38 60 60 90 100 5 0.67
15 12 65 64 90 105 6 0.8
20 34 80 78 105 122 8 1.08
25 1 100 90 120 135 10 1.9
32 114 120 120 180 195 15 5.0
40 1112 140 140 200 220 18 7.5

产品外形及结构尺寸示意图

订货须知:
产品使用的场合非常重要或环境比较复杂时, 本文中所有文字、数据、图片均只适用于参考,请您尽量提供设计图纸和详细参数,由我们的上海工开阀门公司的专业工程师为您审核选型。有任何疑问,您可以致电给我们,我们将为您提供最优质的售前咨询服务。请联系电话:021-56051151 www.gkfm.cn